s0521451 Болт крепления катка, M16x40x2
Заказать расчет, стоимость и сроки поставки s0521451
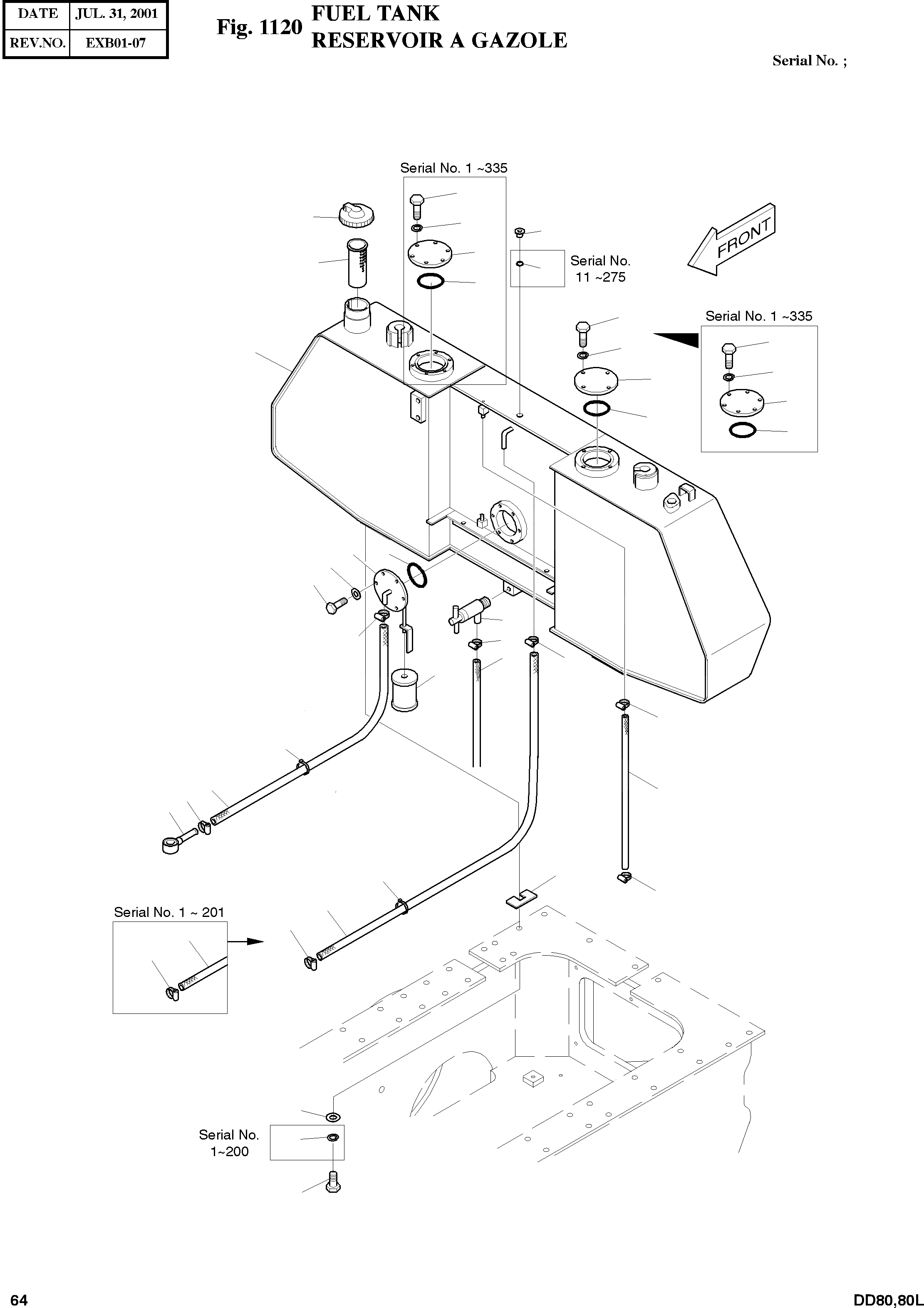
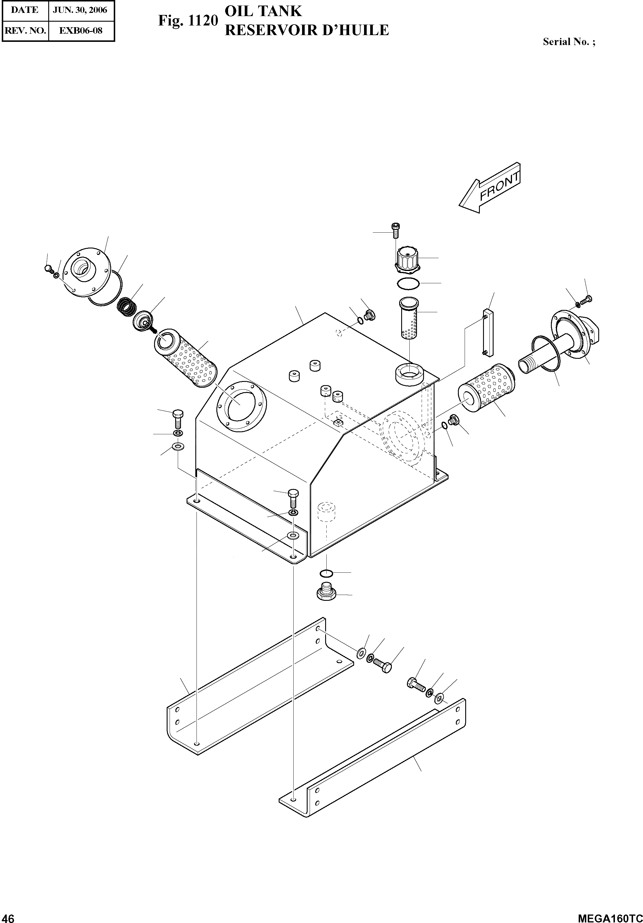
Применимость запчасти
Всего используется в 114 узлов, посмотреть полную применимостьПрименяется в спецтехнике
Похожие запчасти
- s0521466 Болт крепления катка, M16x40x2, S0521451
- 01010-61640 01010-61640 Болт
- 01010-31640 Болт крепления звездочки 205-27-71670
- 01010-51640 Болт M16X40X2.0
- 131-1651 Крышка
- 3944593 6735-11-4150 Болт коллектора
- 14y-71-13211 Шар отвала 14Z-71-33212 14Z-71-33211
- 4j9208 Болт 195-71-52280/U12698/195-71-11452
- 195-30-62141 Крышка ⌀ под болт 28мм
- 81n8-11010 Каток опорный 81E5-2002
- 09244-02516 Палец коронки
- 826-00303 Болт зуба ковша BHL с гайкой (Аналог, Aries) 826/00303
- 2j3507 Гайка E624N / NP100
- 4891179 Болт шатуна Cummins 6ISBe,QSB,ISD,ISF 4891179
- 3944655 Болт выпускного коллектора с двухсторонней резьбой к�
- 20y-30-11340 Болт
- 5j4773 Болт U12699 02090-11270 234-70-32250 234-70-32260 5J4771
- 20y-27-11561 Болт 18X045X2.50X12.9
- 09244-02508 Палец коронки
- 178-27-11150 Болт M24X1,5X78