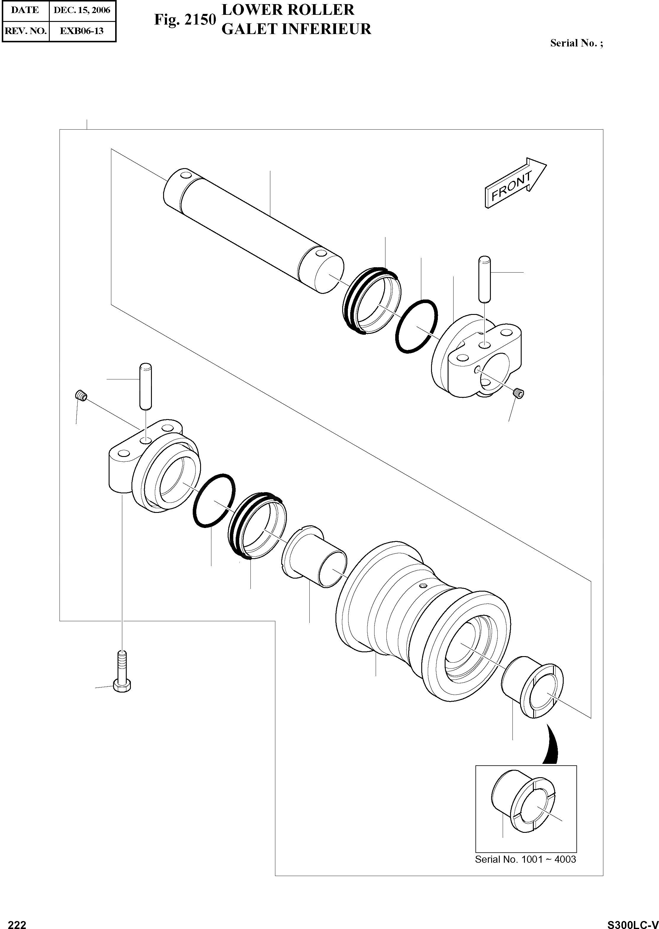
s0570661 Болт крепления катка, M20x90x2,5
Заказать расчет, стоимость и сроки поставки s0570661
Применимость запчасти
Всего используется в 8 узлов, посмотреть полную применимостьПрименяется в спецтехнике
Похожие запчасти
- 207-30-56190 Болт 175-30-33492
- 01010-32090 01010-32090 (ITR) Болт
- 8t0360 Болт 01010-32090 01010-52090 01010-62090 01010-82090 1135443 0956575 U16168
- 8t0360 Болт 01010-32090 01010-52090 01010-62090 01010-82090 1135443 0956575 U16168
- 4j9208 Болт 195-71-52280/U12698/195-71-11452
- 81n8-11010 Каток опорный 81E5-2002
- 2j3506 Гайка
- 131-1651 Крышка
- 2j3507 Гайка E624N / NP100
- 20y-30-11340 Болт
- 09244-02516 Палец коронки
- 14y-71-13211 Шар отвала 14Z-71-33212 14Z-71-33211
- 826-00303 Болт зуба ковша BHL с гайкой (Аналог, Aries) 826/00303
- 5j4773 Болт U12699 02090-11270 234-70-32250 234-70-32260 5J4771
- 09244-02508 Палец коронки
- 3927063 Болт ГБЦ Cummins 6ISBe 3927063
- 5270378 Опора вентилятора в сборе (6 отверстий) дв. Cummins ISF 2.8 ель
- 3944593 6735-11-4150 Болт коллектора
- 178-27-11150 Болт M24X1,5X78
- 195-30-62141 Крышка ⌀ под болт 28мм