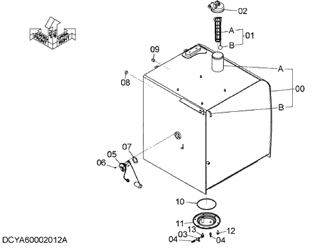
ya40001932 Бак топливный ZX250-5G/280-5G, YA40001932
Заказать расчет, стоимость и сроки поставки ya40001932
Применимость запчасти
Всего используется в 2 узлов, посмотреть полную применимостьПрименяется в спецтехнике
- Hitachi
- Экскаваторы
Категории товара
Похожие запчасти
- siz-2400 Подушка двигателя SIZ-2400 1-53225-280-4/1-53225-314-1 L 6HK-1 FRR/FSR/FTR Schmaco
- siz-2400 Подушка двигателя SIZ-2400 1-53225-280-4/1-53225-314-1 L 6HK-1 FRR/FSR/FTR Schmaco
- 4628634 Гидроцилиндр ковша ZX250-3/240-3 4628634, 9282252, 9246751, 9309804 (GM), , шт
- 9246748 Гидроцилиндр стрелы ZX250-3 ZX240-3 9246748 (GM), , шт
- 9310837 Натяжитель гусеницы в сборе, шт
- 3325963 Ремень клиновой AV22x2150 NT855 3325963
- 095420-0260 Клапан топливной рейки Е3
- st20710 Фильтр топливный
- 3914086 Ролик натяжной Cummins 6ISBe, 6BTA 3937553 3914086 3922900 3978022
- 384-8612 Подкачивающий топливный насос
- 9134243 Каток опорный
- 4255637 Болт башмачный M20, 4659287, 4143721, 20Y-32-11210, 14X-32-11210, 81EM-20020, шт
- 3090942 ТНВД Евро-3 M11 3090942, 3075340, 3417677, 3041800, 3060492
- 320-a7161 Насос подкачки топлива (JCB) Оригинал 320/A7161 , 320/07037
- 419-03-21320 Расширительный бачок
- 0445020119 0445020119 bosch топливный насос высокого давления CUMMINS/EL (499060
- 4651654 Стекло лобовое нижнее
- 4988747 Насос топливоподкачивающий Cummins 6ISBe 3415661 4988747 3936316 851-01-02
- 319-0678 Гидравлический насос управления форсунками 319-0678/319-0677
- 4076956 Насос топливный (ТНВД) KTA-19 (БЕЛАЗ) 4076956 3086405