Запчасти Case IH F3GFE613A B001 (10.001.AB) - CRANKCASE (10) - ENGINE

Схема запчастей Case IH F3GFE613A B001 - (10.001.AB) - CRANKCASE (10) - ENGINE
10
3
7
13
5
10
24
18
11
9
8
12
26
25
14
2
15
13
16
13
21
7
17
27
19
1
20
22
6
28
19
23
4
14
FIT
1:1
100%

Артикул

Название

Примечание

Количество

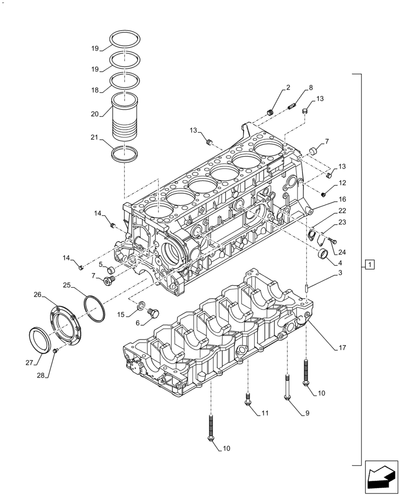
1

5801879751

CYLINDER BLOCK

ASSY; Incl 2 - 17, 22-24

1шт.

2

99433597

SCREW

3шт.

3

99467554

DOWEL

4шт.

4

16991370

PLUG

2шт.

5

16990870

PLUG

3шт.

6

4665029

PLUG

3шт.

7

504120669

PLUG

1шт.

8

500368916

DOWEL

1шт.

9

504370702

SCREW

14шт.

10

99432869

SCREW

25шт.

10

16675835

SCREW,M10 x 30mm

11шт.

10

2852172

BOLT,Flng, M10 x 1.5 x 70mm

1шт.

11

99433863

SCREW

1шт.

12

504051237

PLUG

1шт.

13

504051238

PLUG,Threaded, 3/8" Dia

3шт.

14

504138062

PLUG

2шт.

15

99469382

SEAL

3шт.

16

NSS

NOT SOLD SEPARAT

Crankcase; Incl. in 1

1шт.

17

NSS

NOT SOLD SEPARAT

Crankcase; Incl. in 1

1шт.

18

504372472

O-RING

6шт.

19

504372471

O-RING

12шт.

20

5801496601

SLEEVE CYLINDER

6шт.

21

504372482

O-RING

6шт.

21

504372483

SPACER

6шт.

21

504372484

SPACER

6шт.

21

504372485

SPACER

6шт.

22

504381689

GASKET

1шт.

23

504381566

COVER

1шт.

24

16673635

BOLT,Hex, M8 x 1.25 x 20mm, Full Thd

2шт.

25

17292781

O-RING

1шт.

26

504387089

COVER

1шт.

27

40102683

GASKET

1шт.

28

18053625

SCREW,M8 x 16mm

8шт.

Выбрано товаров: 33