Запчасти Case IH PUMA 2304 (10.101.AA) - CYLINDER HEAD (10) - ENGINE

Схема запчастей Case IH PUMA 2304 - (10.101.AA) - CYLINDER HEAD (10) - ENGINE
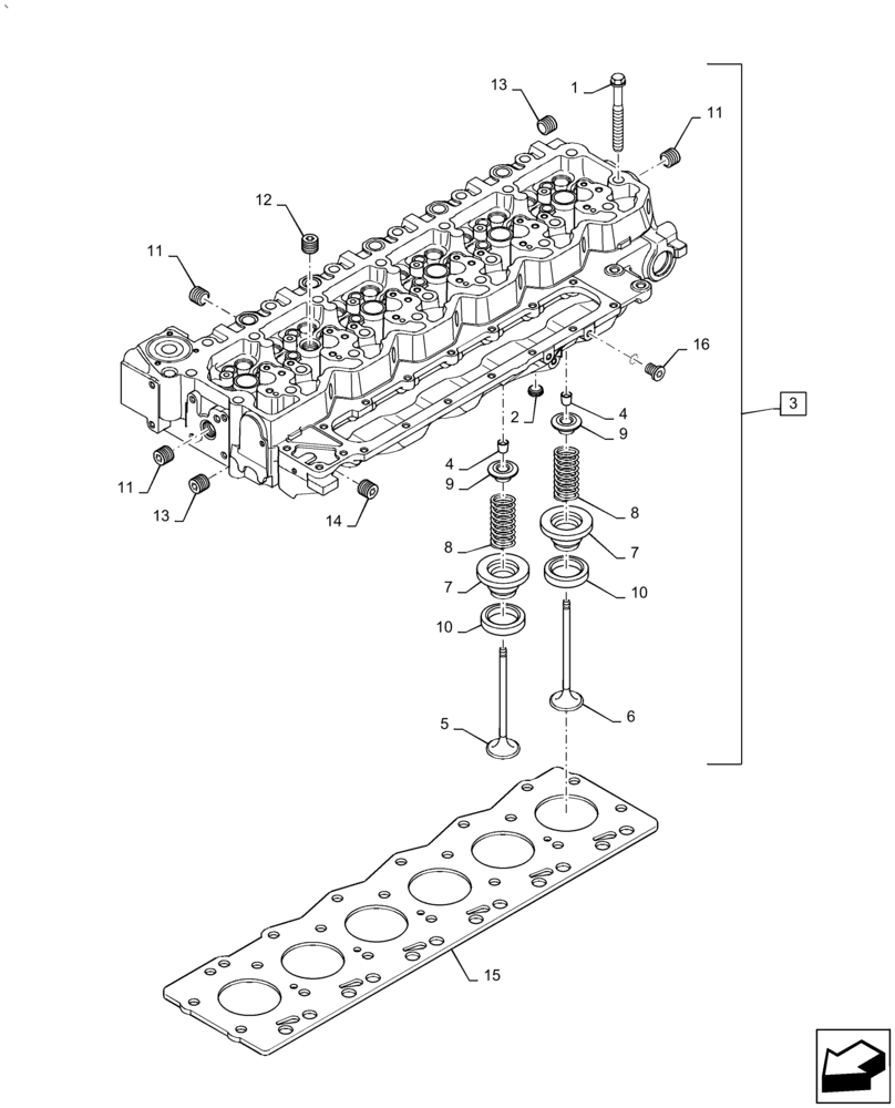
3
12
5
4
2
6
15
1
10
11
14
4
13
7
13
9
8
16
7
9
10
11
8
11
FIT
1:1
100%

Артикул

Название

Примечание

Количество

1

4891024

BOLT,Flng, M12 x 1.75 x 130mm

12шт.

1

4891025

SCREW,Flng, M12 x 1.75 x 150mm

14шт.

2

4893036

PIPE PLUG,3/4"-14 NPTF

1шт.

3

2831278

CYLINDER HEAD,6 Cylinders

Assy, Incl 1, 2, 3 - 14, 16

1шт.

3

2831274

CYLINDER HEAD,6 Cylinders

Assy, Incl 1, 2, 3 - 14, 16

1шт.

3

87536188

CYLINDER HEAD

Assy, Incl 1, 2, 3 - 14, 16

1шт.

4

4899081

ROCKER ARM COTTER

48шт.

5

47422604

SERVICE KIT

Exhaust Valve

12шт.

6

47422606

SERVICE KIT

Intake Valve

12шт.

7

2831287

SEAL,12.6mm ID x 28.5mm OD x 0.6mm Thk

24шт.

8

2831473

VALVE SPRING,Compression, 18.8mmOD x 45.2mm L

24шт.

9

4895074

CUP,18mm ID

24шт.

10

4893244

VALVE SEAT,28.42mm ID x 34.9mm OD x 5.75mm L

24шт.

11

4895085

EXPANSION PLUG,25.74mm

13шт.

11

4895408

PLUG,0.511" L

2шт.

12

4895089

PLUG,0.886" L

11шт.

12

4895179

EXPANSION PLUG,M20.93

3шт.

13

4895406

EXPANSION PLUG,9.8mm OD

Intake

7шт.

14

4895407

EXPANSION PLUG,38.28mm OD

Exhaust

2шт.

15

2830705

CYLINDER HEAD GASKET,1.15mm Thk

1шт.

15

2830704

CYLINDER HEAD GASKET,1.25mm Thk

1шт.

16

87478869

GASKET KIT

Head

1шт.

Выбрано товаров: 22