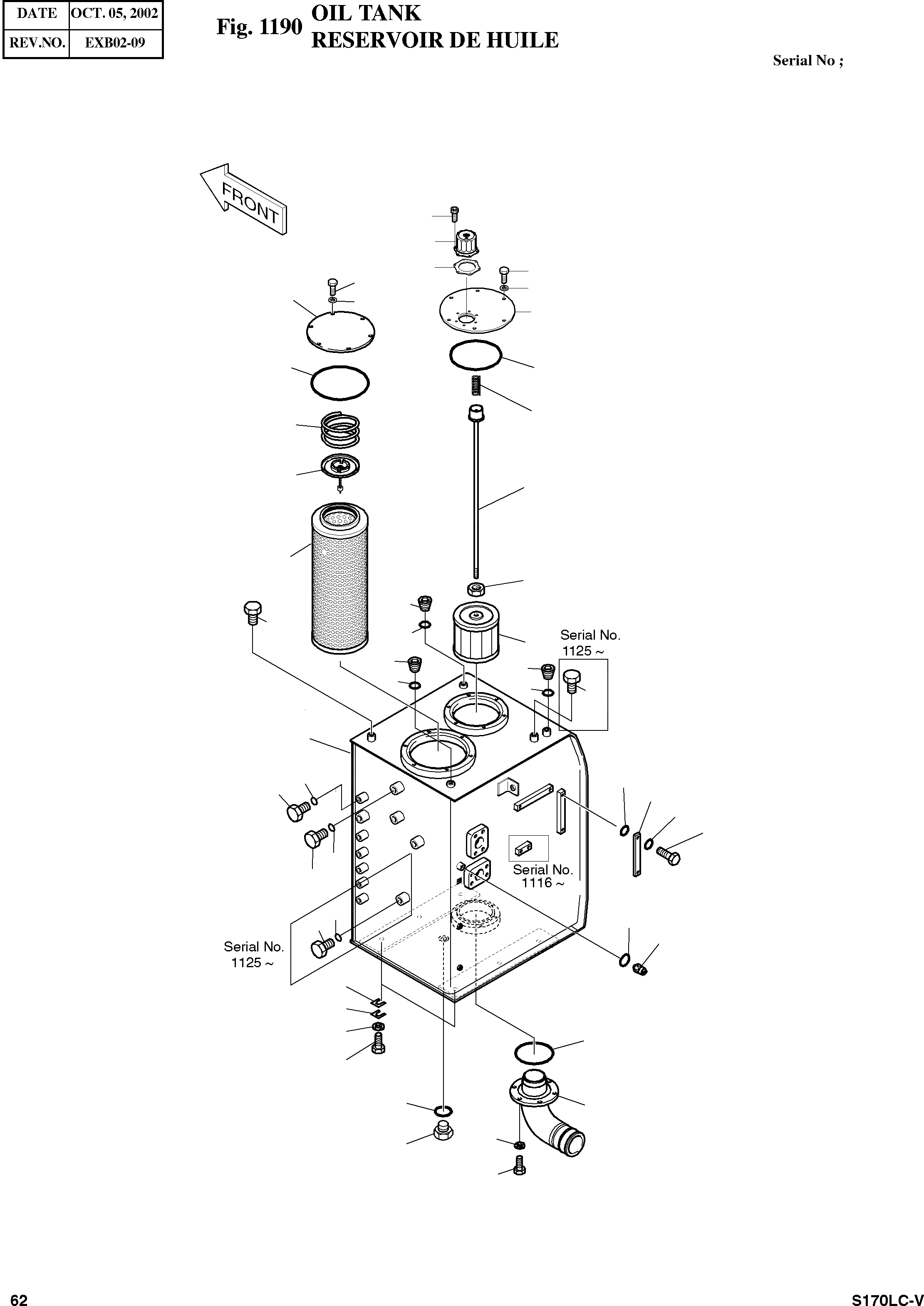
Запчасти Doosan Daewoo OIL TANK BODY PARTS

21A
28
21
10
10
11
5
11
12
6
13
15
7
8
14
9
26
23
30
34
17
23
23
34
34
30
1
33
32
19
18
19
25
18
24
4
3
27
22
2
19
16
11
18
10
20C
20E
20C
20D
FIT
1:1
100%

Артикул

Название

Примечание

Количество

-

470-00016A

OIL TANK ASS'Y

SC: D

-2шт.

1

470-00017B

TANK;OIL

SERIAL: 1001-1074

1шт.

1

470-00017C

TANK;OIL

SERIAL: 1075-1115

1шт.

1

470-00017E

TANK;OIL

SERIAL: 1116-1124

1шт.

1

470-00017G

TANK;OIL

SERIAL: 1125-1129

1шт.

1

470-00017H

TANK;OIL

SERIAL: 1130

1шт.

2

S0521451

BOLT M16X2.0X40

desc: BOULON A 6 PANS

6шт.

3

2114-1813

SHIM D20X0.8T

desc: CALE

3шт.

4

2114-1814

SHIM D20X1.6T

desc: CALE

3шт.

5

2473-1080A

COVER

desc: COUVERCLE

1шт.

6

S8012000

O-RING

desc: JOINT TORIQUE

1шт.

7

2129-1393

SPRING

desc: RESSORT

1шт.

8

2426-1175

VALVE;BY-PASS

desc: VANNE

1шт.

9

2474-9404A

ELEMENT;FILTER

desc: ELEMENT FILTRANT

1шт.

10

S0512053

BOLT M10X1.5X25

desc: BOULON A 6 PANS

18шт.

11

S5102603

WASHER;SPRING M10

desc: RONDELLE ELASTIQUE

18шт.

12

2473-1088B

COVER

desc: COUVERCLE

1шт.

13

S8011650

O-RING

desc: JOINT TORIQUE

1шт.

14

2136-1434

ROD

desc: TIGE

1шт.

15

2129-1008

SPRING

desc: RESSORT

1шт.

16

140-00198

PIPE;SUCTION

desc: CONDUITE

1шт.

17

2474-9016A

FILTER;SUCTION

desc: ELEMENT FILTRANT

1шт.

18

2181-1950D7

PLUG PF1/2

SERIAL: 1001-1124

2шт.

18

2181-1950D7

PLUG PF1/2

SERIAL: 1125

3шт.

19

S8000181

O-RING

SERIAL: 1001-1124

2шт.

19

S8000181

O-RING

SERIAL: 1125

3шт.

20

2119-1007

GAUGE;LEVEL

desc: JAUGE D'HUILE

1шт.

20C

S8000110

O-RING

desc: . JOINT TORIQUE

4шт.

20D

2120-1063

BOLT M10X1.5

desc: . BOULON A 6 PANS

2шт.

20E

2166-1001

TAPE

desc: . RUBAN

1шт.

21

422-00027A

BREATHER;AIR

desc: RENIFLARD D'CAIR

1шт.

21A

180-00200

PACKING

desc: . JOINT

1шт.

22

S8011200

O-RING

desc: JOINT TORIQUE

1шт.

23

2181-1116D2

PLUG PT1/4

SERIAL: 1001-1124

2шт.

23

2181-1116D2

PLUG PT1/4

SERIAL: 1125

3шт.

24

2549-1135D2

SWITCH;PRESSURE

desc: INTERRUPTEUR

1шт.

25

S8180221

RING;SEAL

desc: RONDELLE D'ETANCHEITE

1шт.

26

S4012733

NUT M12X1.75

desc: ECROU

1шт.

27

2114-1816

WASHER;HARD

desc: RONDELLE

6шт.

28

S2202761

BOLT;SOCKET

SERIAL: 1001-1115

6шт.

28

2120-2166D41

BOLT;SOCKET M5X0.8X8

SERIAL: 1116

6шт.

30

S0514653

BOLT M12X1.75X16

desc: BOULON A 6 PANS

2шт.

32

2181-1950D2

PLUG PF3/8

desc: BOUCHON

1шт.

33

S8000141

O-RING

desc: JOINT TORIQUE

1шт.

34

S8000111

O-RING

SERIAL: 1125

3шт.

Выбрано товаров: 45