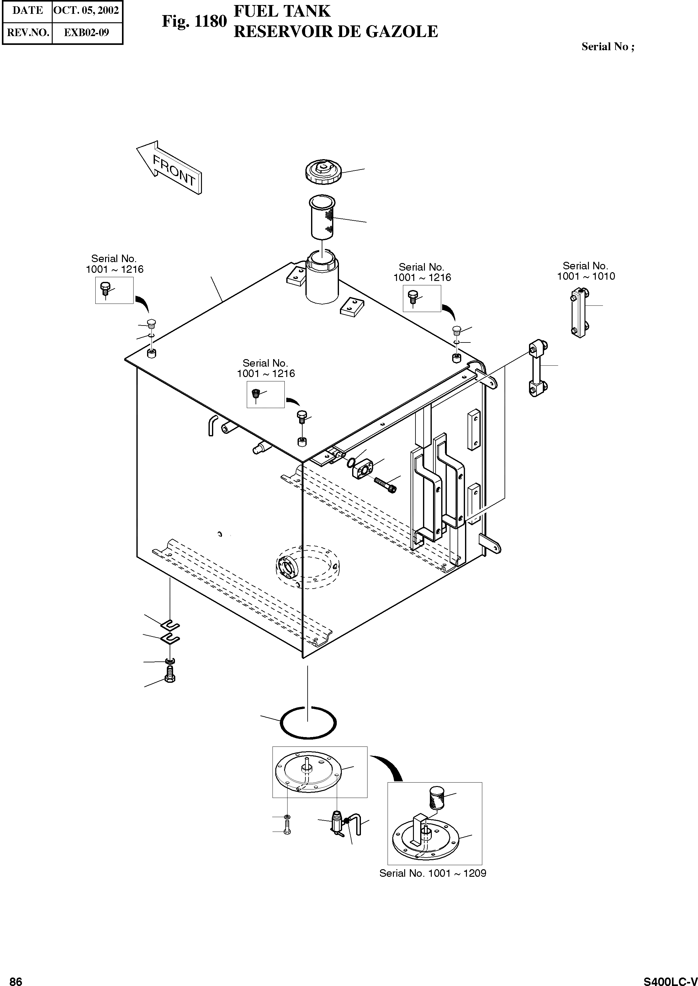
Запчасти Doosan Daewoo FUEL TANK BODY PARTS

12
11
1
24
24
14
32
32
33
33
14
13
24
19
18
20
10
9
23
8
3
4
2
6
7
25
5
4
26
FIT
1:1
100%

Артикул

Название

Примечание

Количество

-

2470-2116A

FUEL TANK ASS'Y

SC: D

-2шт.

1

2470-2115B

TANK;FUEL 535L

SERIAL: 1001-1057

1шт.

1

470-00022

TANK;FUEL 511L

SERIAL: 1058-1150

1шт.

1

470-00022B

TANK;FUEL 511L

SERIAL: 1151-1209

1шт.

1

470-00022C

TANK;FUEL 511L

SERIAL: 1210-1216

1шт.

1

470-00022E

TANK;FUEL 511L

SERIAL: 1217

1шт.

2

2471-1004B

FILTER

SERIAL: 1001-1209

1шт.

3

S8011650

O-RING

desc: JOINT TORIQUE

1шт.

4

2473-1033B

COVER

SERIAL: 1001-1209

1шт.

4

473-00031

COVER

SERIAL: 1210

1шт.

5

S0512053

BOLT M10X1.5X25

desc: BOULON A 6 PANS

6шт.

6

S5102603

WASHER;SPRING M10

desc: RONDELLE ELASTIQUE

6шт.

7

2186-9001

COCK

desc: ROBINET

1шт.

8

S0521451

BOLT M16X2.0X40

desc: BOULON A 6 PANS

4шт.

9

2114-1813

SHIM

desc: CALE

2шт.

10

2114-1814

SHIM

desc: CALE

2шт.

11

2471-9046

FILTER;FUEL

desc: FILTRE

1шт.

12

2188-9004

CAP

SERIAL: 1001-1010

1шт.

12

2188-9008

CAP

SERIAL: 1011

1шт.

13

2181-1116D2

PLUG

SERIAL: 1001-1216

1шт.

14

2119-1061

GAUGE;LEVEL

SERIAL: 1001-1010

2шт.

14

2119-1066

GAUGE;LEVEL

SERIAL: 1011

2шт.

18

2181-2712

FLANGE;COVER

desc: BRID DE COUVERCLE

1шт.

19

2180-1026D2

O-RING

desc: JOINT TORIQUE

1шт.

20

S2212261

BOLT;SOCKET M10X1.5X30

SERIAL: 1001-1170

4шт.

20

S2212266

BOLT;SOCKET M10X1.5X30

SERIAL: 1171

4шт.

23

2114-1816

WASHER;HARD

desc: RONDELLE

4шт.

24

S0514653

BOLT M12X1.75X16

SERIAL: 1001-1216

2шт.

24

S0514653

BOLT M12X1.75X16

SERIAL: 1217

1шт.

25

2184-9089

HOSE;VINYL

desc: TUYAU FLEXIBLE

1шт.

26

S8450006

CLAMP;HOSE

desc: COLLIER

1шт.

32

2181-1890D2

PLUG;SP

SERIAL: 1217

2шт.

33

S8000111

O-RING

SERIAL: 1217

2шт.

Выбрано товаров: 0