Запчасти Hitachi ZX140W-3 302 BUCKET 0.59m3 (JIS 94) ( CEB CED 002001-, CEA 020001-). 04 FRONT-END ATTACHMENTS(2P-BOOM)

Схема запчастей Hitachi ZX140W-3 - 302 BUCKET 0.59m3 (JIS 94) ( CEB CED 002001-, CEA 020001-). 04 FRONT-END ATTACHMENTS(2P-BOOM)
FIT
1:1
100%

Артикул

Название

Примечание

Количество

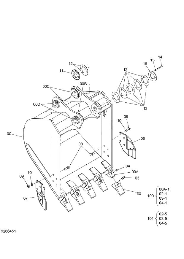
9266451

BUCKET ASS'Y

1шт.

0

8105921

* BUCKET

1шт.

00A

4425500

** ADAPTER;TOOTH

5шт.

00B

4437279

** BOSS

1шт.

00C

4276151

** BOSS

2шт.

00D

4454562

** STOPPER

2шт.

2

963228

* POINT;TOOTH

5шт.

3

963229

* PIN;LOCK

5шт.

4

963227

* RUBBER PIN LOCK

5шт.

6

2015428

* CUTTER;SIDE

1шт.

7

2015429

* CUTTER;SIDE

1шт.

8

J932060

* BOLT

8шт.

9

J951020

* NUT

8шт.

10

A590920

* WASHER;SPRING

8шт.

11

4445244

* BOSS

1шт.

12

4276386

* SHIM

12шт.

14

J901275

* BOLT

3шт.

15

A590912

* WASHER;SPRING

3шт.

16

4276385

* PLATE

1шт.

100

9200912

KIT;POINT

5шт.

101

9249618

KIT;POINT

1шт.

Выбрано товаров: 21