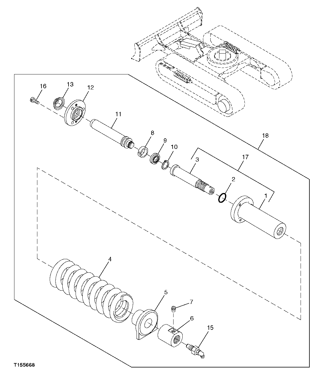
Запчасти John Deere 0C ZTS 2 - ADJUSTER (RUBBER TRACK) 0130 Track Systems

Схема запчастей John Deere 0C ZTS - 2 - ADJUSTER (RUBBER TRACK) 0130 Track Systems
FIT
1:1
100%

Артикул

Название

Примечание

Количество

1

3067319

Barrel

1шт.

2

955020

O-Ring

(SUB FOR TH111628, AT132422, 4006683)

1шт.

3

3067320

Hydraulic Cylinder Rod

1шт.

4

3067321

Spring

1шт.

5

4326529

Spring Washer

1шт.

6

4285040

Nut

1шт.

7

4276113

Plug

1шт.

8

4242156

Wear Ring

1шт.

9

4242157

Packing

1шт.

10

40M7080

Snap Ring

(SUB FOR 959500)

1шт.

11

3067322

Hydraulic Cylinder Rod

1шт.

12

3067323

Flange

1шт.

13

4285037

Seal

1шт.

15

4276114

Flow Control Hyd. Valve

1шт.

16

19M8446

Screw

M8 X 20

3шт.

17

Cylinder

( 9128414 NLA)

1шт.

18

Adjuster

( 9128413 NLA)

2шт.

Выбрано товаров: 17