Запчасти Komatsu D155A-1 ЭЛЕКТРИКА (/) (ДЛЯ ПОДОГРЕВ. РАКЕТНОГО ТИПА)(№989-) КОМПОНЕНТЫ ДВИГАТЕЛЯ И ЭЛЕКТРИКА

Схема запчастей Komatsu D155A-1 - ЭЛЕКТРИКА (/) (ДЛЯ ПОДОГРЕВ. РАКЕТНОГО ТИПА)(№989-) КОМПОНЕНТЫ ДВИГАТЕЛЯ И ЭЛЕКТРИКА
FIT
1:1
100%

Артикул

Название

Примечание

Количество

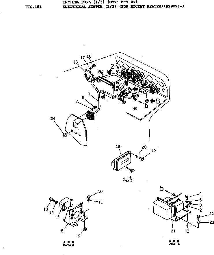
1

195-06-25230

WIRING HARNESS

SN: 29891-UP

1шт.

2

175-07-23570

CLIP

SN: 29891-UP

7шт.

3

08034-00519

BAND

SN: 29891-UP

14шт.

4

01010-51016

BOLT

SN: 29891-UP

3шт.

5

01602-21030

WASHER

SN: 29891-UP

3шт.

6

01220-40412

SCREW

SN: 29891-UP

4шт.

7

01601-20410

WASHER

SN: 29891-UP

4шт.

8

175-06-35214

BRACKET

SN: 29891-UP

1шт.

9

154-06-13910

ISOLATOR

SN: 29891-UP

4шт.

10

01582-11008

NUT

SN: 29891-UP

4шт.

11

01602-21030

WASHER

SN: 29891-UP

4шт.

12

600-842-8110

RELAY

SN: 29891-UP

1шт.

13

01010-50616

BOLT

SN: 29891-UP

4шт.

14

01643-30623

WASHER

SN: 29891-UP

4шт.

15

198-06-19430

HORN

SN: 29891-UP

1шт.

16

01010-50816

BOLT

SN: 29891-UP

2шт.

17

01602-20825

WASHER

SN: 29891-UP

2шт.

18

175-06-39913

MODULE

SN: 29891-UP

1шт.

19

01010-50816

BOLT

SN: 29891-UP

4шт.

20

01602-20825

WASHER

SN: 29891-UP

4шт.

21

600-815-3501

CONTROLLER UNIT A.

SN: 29891-UP

1шт.

21

600-815-3401

APS CONTROLLER A.,(WITH AFTER COOLER)

SN: 29891-UP

1шт.

22

01010-51020

BOLT

SN: 29891-UP

4шт.

23

01602-21030

WASHER

SN: 29891-UP

4шт.

24

07049-01012

PLUG

SN: 29891-UP

3шт.

Выбрано товаров: 25