Запчасти Komatsu D355A-3 ЭЛЕКТРИКА (/)(№9-) КОМПОНЕНТЫ ДВИГАТЕЛЯ И ЭЛЕКТРИКА

Схема запчастей Komatsu D355A-3 - ЭЛЕКТРИКА (/)(№9-) КОМПОНЕНТЫ ДВИГАТЕЛЯ И ЭЛЕКТРИКА
FIT
1:1
100%

Артикул

Название

Примечание

Количество

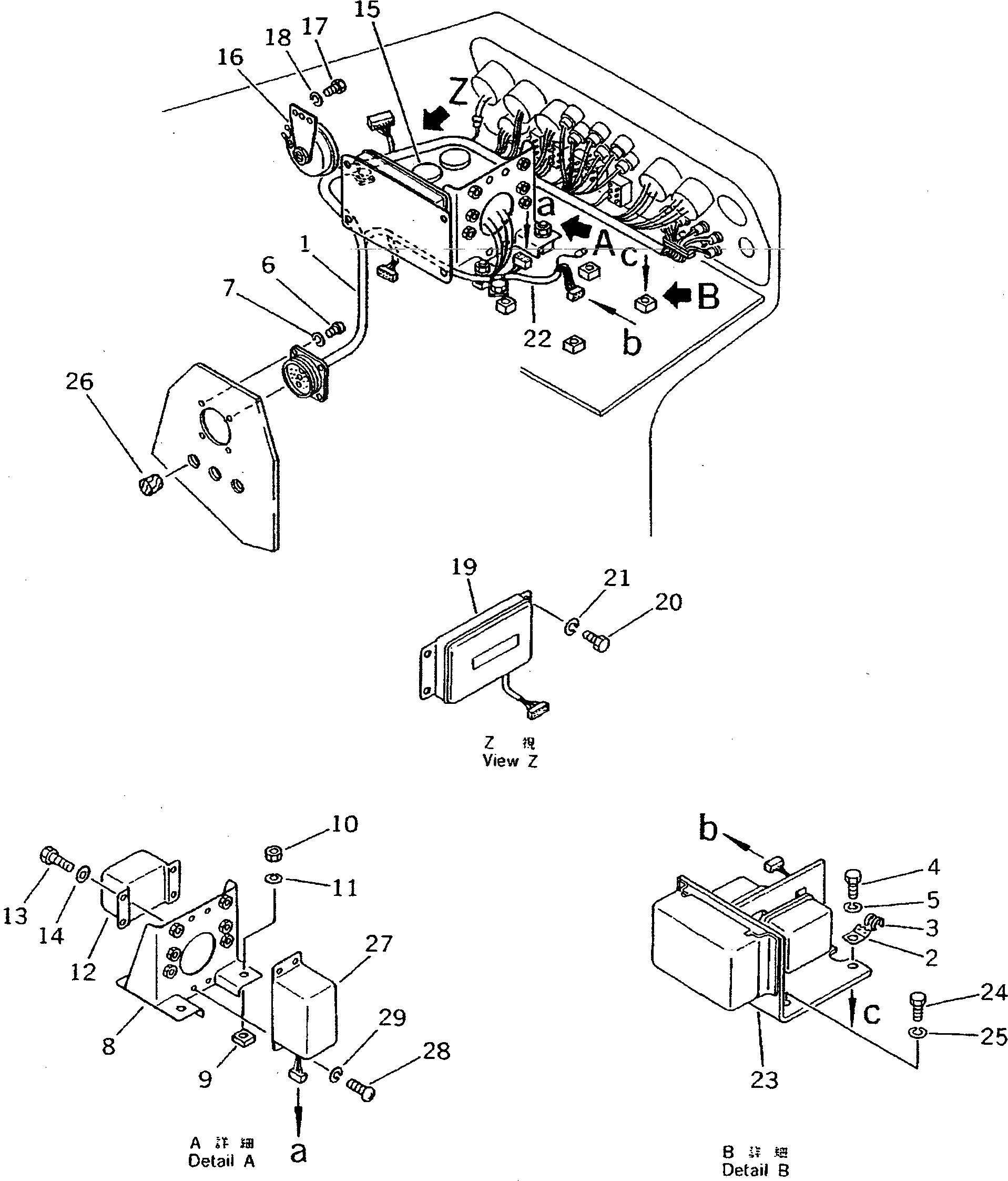
1

195-06-25230

WIRING HARNESS

SN: 9001-UP

1шт.

2

175-07-23570

CLIP

SN: 9001-UP

7шт.

3

08034-00519

BAND

SN: 9001-UP

14шт.

4

01010-81016

BOLT

SN: 9001-UP

3шт.

5

01602-21030

WASHER

SN: 9001-UP

3шт.

6

01220-40412

SCREW

SN: 9001-UP

4шт.

7

01601-20410

WASHER

SN: 9001-UP

4шт.

8

175-06-35214

BRACKET

SN: 3301-UP

1шт.

9

154-06-13910

ISOLATOR

SN: 1632-UP

4шт.

10

01582-11008

NUT

SN: 1117-UP

4шт.

11

01602-21030

WASHER

SN: 1117-UP

4шт.

12

600-824-8110

SAFETY RELAY A.

SN: 3301-UP

1шт.

13

01010-80616

BOLT

SN: 1117-UP

4шт.

14

01643-30623

WASHER

SN: 9001-UP

4шт.

15

176-911-3360

CAP

SN: 9001-11702

2шт.

16

198-06-19430

HORN

SN: 9001-UP

1шт.

17

01010-80816

BOLT

SN: 9001-UP

2шт.

18

01602-20825

WASHER

SN: 9001-UP

2шт.

19

175-06-39913

MODULE

SN: 9279-UP

1шт.

|19

0

MODULE WARNING

SN: 9001-9278

1шт.

20

01010-80816

BOLT

SN: 9001-UP

4шт.

21

01602-20825

WASHER

SN: 9001-UP

4шт.

22

195-06-22561

WIRE ASS'Y

SN: 9001-10196

1шт.

23

600-815-3401

APS CONTROLLER A.

SN: 6421-UP

1шт.

24

01010-81020

BOLT

SN: 6421-UP

4шт.

25

01602-21030

WASHER

SN: 6421-UP

4шт.

26

07049-01012

PLUG

SN: 9001-UP

3шт.

27

600-822-8110

REGULATOR ASS'Y

SN: 3301-10196

1шт.

28

01220-30516

SCREW

SN: 6421-10196

2шт.

29

01601-00513

WASHER

SN: 6421-10196

2шт.

Выбрано товаров: 30