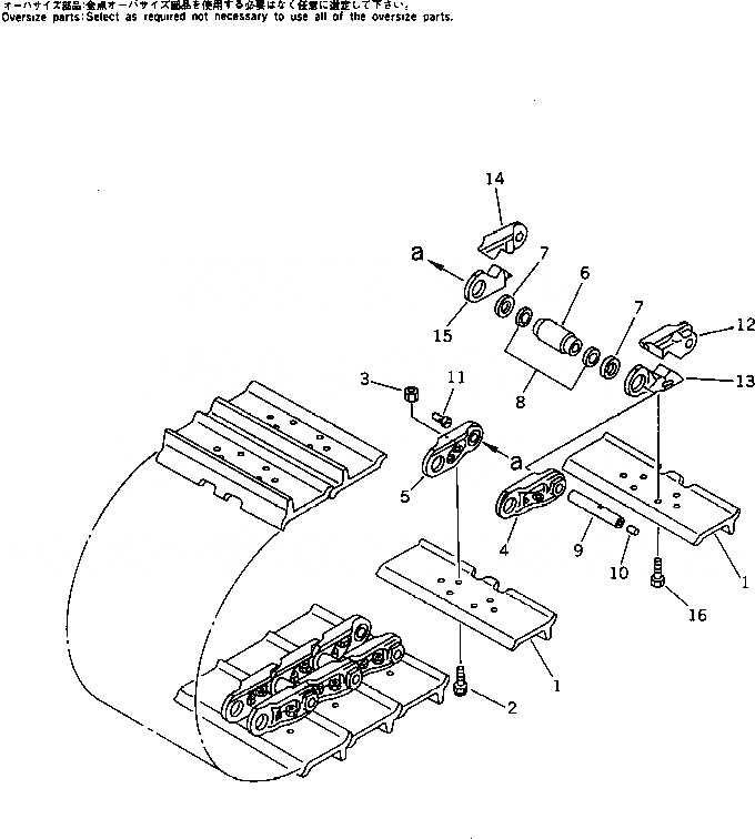
Запчасти Komatsu D60P-11D ГУСЕНИЦЫ (СМАЗЫВ. ТИПА) (ОДИНОЧН. ГРУНТОЗАЦЕП) (HEAVY-DUTY)(№-7) ГУСЕНИЦЫ

Схема запчастей Komatsu D60P-11D - ГУСЕНИЦЫ (СМАЗЫВ. ТИПА) (ОДИНОЧН. ГРУНТОЗАЦЕП) (HEAVY-DUTY)(№-7) ГУСЕНИЦЫ
FIT
1:1
100%

Артикул

Название

Примечание

Количество

|$$1

660MM WIDE

-1шт.

|1

14G-32-01205

TRACK SHOE ASS'Y

SN: 51537-51576

1шт.

|1

0

TRACK SHOE ASS'Y

SN: 50001-51536

1шт.

1

14G-32-11121

SHOE,TRACK

SN: 50001-51576

88шт.

2

207-32-11312

BOLT (KIT)

SN: 51537-51576

336шт.

|2

207-32-11310

BOLT (KIT)

SN: 50001-51536

336шт.

3

154-32-21331

NUT (KIT)

SN: 51537-51576

336шт.

|3

154-32-21330

NUT (KIT)

SN: 50001-51536

336шт.

|4

144-820-0063

TRACK LINK ASS'Y

SN: 50001-51576

1шт.

4

144-32-11123

LINK,TRACK¤ L.H.

SN: 50001-51576

84шт.

5

144-32-11133

LINK,TRACK¤ R.H.

SN: 50001-51576

84шт.

6

144-32-21142

BUSHING

SN: 50001-51576

88шт.

7

144-32-21161

SEAL ASS'Y

SN: 50001-51576

176шт.

8

144-32-21191

SPACER

SN: 50001-51576

176шт.

9

144-32-21151

PIN

SN: 50001-51576

88шт.

10

07059-11830

PLUG,LARGE

SN: 50001-51576

88шт.

11

07059-20721

PLUG,SMALL

SN: 50001-51576

88шт.

12

144-32-21222

LINK,MASTER¤ L.H.¤ PIN SIDE

SN: 50001-51576

4шт.

13

144-32-21232

LINK,MASTER¤ L.H.¤ BUSHING SIDE

SN: 50001-51576

4шт.

14

144-32-21322

LINK,MASTER¤ R.H.¤ PIN SIDE

SN: 50001-51576

4шт.

15

144-32-21332

LINK,MASTER¤ R.H.¤ BUSHING SIDE

SN: 50001-51576

4шт.

16

144-32-21342

BOLT,MASTER LINK

SN: 50001-51576

16шт.

|$$23

950MM WIDE

-1шт.

|1

14G-32-01215

TRACK SHOE ASS'Y

SN: 51537-@

1шт.

|1

0

TRACK SHOE ASS'Y

SN: 50001-51536

1шт.

1

14G-32-11111

SHOE,TRACK

SN: 50001-@

88шт.

2

207-32-11312

BOLT (KIT)

SN: 51537-@

336шт.

|2

207-32-11310

BOLT (KIT)

SN: 50001-51536

336шт.

3

154-32-21331

NUT (KIT)

SN: 51537-@

336шт.

|3

154-32-21330

NUT (KIT)

SN: 50001-51536

336шт.

|4

144-820-0063

TRACK LINK ASS'Y

SN: 50001-@

1шт.

4

144-32-11123

LINK,TRACK¤ L.H.

SN: 50001-@

84шт.

5

144-32-11133

LINK,TRACK¤ R.H.

SN: 50001-@

84шт.

6

144-32-21142

BUSHING

SN: 50001-@

88шт.

7

144-32-21161

SEAL ASS'Y

SN: 50001-@

176шт.

8

144-32-21191

SPACER

SN: 50001-@

176шт.

9

144-32-21151

PIN

SN: 50001-@

88шт.

10

07059-11830

PLUG,LARGE

SN: 50001-@

88шт.

11

07059-20721

PLUG,SMALL

SN: 50001-@

88шт.

12

144-32-21222

LINK,MASTER¤ L.H.¤ PIN SIDE

SN: 50001-@

4шт.

13

144-32-21232

LINK,MASTER¤ L.H.¤ BUSHING SIDE

SN: 50001-@

4шт.

14

144-32-21322

LINK,MASTER¤ R.H.¤ PIN SIDE

SN: 50001-@

4шт.

15

144-32-21332

LINK,MASTER¤ R.H.¤ BUSHING SIDE

SN: 50001-@

4шт.

16

144-32-21342

BOLT,MASTER LINK

SN: 50001-@

16шт.

|$$45

SERVICE KIT

-1шт.

|1

207-32-05002

SHOE BOLT AND NUT K.

SN: 51537-@

1шт.

|1

0

SHOE BOLT AND NUT K.

SN: 50001-51536

1шт.

1

207-32-11312

BOLT

SN: 51537-@

30шт.

|1

207-32-11310

BOLT

SN: 50001-51536

30шт.

2

154-32-21331

NUT

SN: 51537-@

30шт.

|2

154-32-21330

NUT

SN: 50001-51536

30шт.

|$$52

OVERSIZE PARTS

-1шт.

|$$53

0.10MM OVERSIZE

-1шт.

6

144-98-09170

BUSHING

SN: 50001-@

-2шт.

9

144-98-09071

PIN

SN: 50001-@

-2шт.

|$$56

0.18MM OVERSIZE

-1шт.

6

144-98-09180

BUSHING

SN: 50001-@

-2шт.

9

144-98-09081

PIN

SN: 50001-@

-2шт.

Выбрано товаров: 58