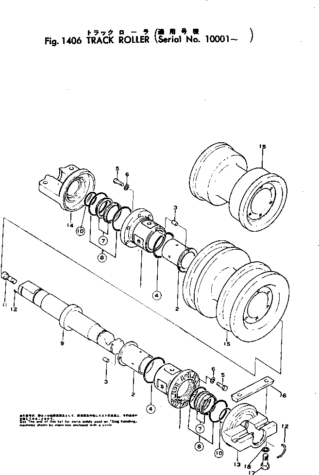
Запчасти Komatsu D80A-12 ОПОРНЫЙ КАТОК ГУСЕНИЦЫ И ЧАСТИ КОРПУСА

Схема запчастей Komatsu D80A-12 - ОПОРНЫЙ КАТОК ГУСЕНИЦЫ И ЧАСТИ КОРПУСА
FIT
1:1
100%

Артикул

Название

Примечание

Количество

|1

154-30-00404

TRACK ROLLER ASS'Y,DOUBLE FLANGE

SN: .-UP

4шт.

|1

0

TRACK ROLLER ASS'Y,DOUBLE FLANGE

SN: 14855-.

4шт.

|1

0

TRACK ROLLER ASS'Y,DOUBLE FLANGE

SN: 14660-14854

4шт.

|1

0

TRACK ROLLER ASS'Y,DOUBLE FLANGE

SN: 10001-14659

4шт.

|1

154-30-00504

TRACK ROLLER ASS'Y,SINGLE FLANGE

SN: .-UP

8шт.

|1

0

TRACK ROLLER ASS'Y,SINGLE FLANGE

SN: 14855-.

8шт.

|1

0

TRACK ROLLER ASS'Y,SINGLE FLANGE

SN: 14660-14854

8шт.

|1

0

TRACK ROLLER ASS'Y,SINGLE FLANGE

SN: 10001-14659

8шт.

|1

154-30-00810

BUSHING ASS'Y

SN: 14855-UP

2шт.

|1

0

BUSHING ASS'Y

SN: 6305-14854

2шт.

1

0

BUSHING

SN: 14855-UP

1шт.

|1

0

BUSHING

SN: 6107-14854

1шт.

2

0

BUSHING

SN: 14855-UP

1шт.

|2

0

BUSHING

SN: 4001-14854

1шт.

3

170-30-91130

PIN

SN: 6305-UP

2шт.

4

07000-02110

O-RING

SN: 14855-UP

2шт.

|4

07000-05105

O-RING (KIT)

SN: 4001-14854

2шт.

5

01010-31235

BOLT

SN: 6107-UP

12шт.

6

01602-01236

WASHER

SN: 6107-UP

12шт.

|7

154-30-00830

FLOATING SEAL ASS'Y

SN: 21448-UP

2шт.

|7

0

FLOATING SEAL ASS'Y

SN: 4001-21447

2шт.

7

154-30-00820

SEAL RING ASS'Y

SN: 21448-UP

1шт.

|7

150-30-00360

SEAL RING ASS'Y

SN: 4001-21447

1шт.

|7

0

RING

SN: 21448-UP

2шт.

|7

0

RING

SN: 4001-21447

2шт.

8

150-30-00370

O-RING ASS'Y

SN: 4001-UP

1шт.

|8

150-30-12220

O-RING

SN: 4001-UP

2шт.

9

154-30-11840

SHAFT

SN: 10001-UP

1шт.

10

07000-03058

O-RING (KIT)

SN: 7479-UP

2шт.

11

07052-21624

PLUG

SN: 14660-UP

1шт.

|11

0

PLUG

SN: 10001-14659

1шт.

12

150-30-15230

PIN

SN: 6001-UP

2шт.

13

154-30-11850

COLLAR

SN: 10001-UP

1шт.

14

154-30-11860

COLLAR

SN: 10001-UP

1шт.

15

150-30-25123

ROLLER,DOUBLE FLANGE

SN: 7377-UP

1шт.

|15

150-30-25113

ROLLER,SINGLE FLANGE

SN: 7377-UP

1шт.

16

150-30-15241

KEY

SN: 1001-UP

12шт.

17

01010-62070

BOLT

SN: 14660-UP

48шт.

|17

01040-62070

BOLT

SN: 5061-14659

48шт.

18

01602-02060

WASHER

SN: 4001-UP

48шт.

|$$41

FOR SLAG HANDLING

-1шт.

1

154-30-00434

TRACK ROLLER ASS'Y,DOUBLE FLANGE

SN: 21448-UP

4шт.

|1

0

TRACK ROLLER ASS'Y,DOUBLE FLANGE

SN: 10001-21447

4шт.

|1

154-30-00524

TRACK ROLLER ASS'Y,SINGLE FLANGE

SN: 21448-UP

8шт.

|1

0

TRACK ROLLER ASS'Y,SINGLE FLANGE

SN: 10001-21447

8шт.

4

07000-32110

O-RING

SN: 14855-UP

2шт.

|7

154-30-00242

FLOATING SEAL ASS'Y

SN: 21448-UP

2шт.

|7

0

FLOATING SEAL ASS'Y

SN: 4001-21447

2шт.

7

154-30-00820

SEAL RING ASS'Y

SN: 21448-UP

1шт.

|7

150-30-00360

SEAL RING ASS'Y

SN: 4001-21447

1шт.

|7

0

RING

SN: 21448-UP

2шт.

|7

0

RING

SN: 4001-21447

2шт.

8

154-830-0030

O-RING ASS'Y

SN: 4001-UP

1шт.

|8

0

O-RING

SN: 4001-UP

2шт.

10

07000-33058

O-RING

SN: 7479-UP

2шт.

Выбрано товаров: 0