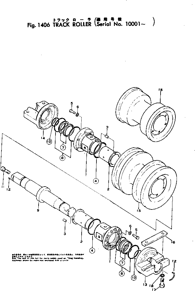
154-30-00504 Каток опорный, D85/SD22/SD23, О/Б
Заказать расчет, стоимость и сроки поставки 154-30-00504
Применимость запчасти
Всего используется в 6 узлов, посмотреть полную применимостьАналоги 154-30-00504
Применяется в спецтехнике
- Komatsu
- Бульдозеры гусеничные
Варианты написания артикула
- 1543000504
- 154-30-00504
Категории товара
Похожие запчасти
- 154-32-21321 Болт башмачный
- 154-30-00404 Каток опорный, D85/SD22/SD23, Д/Б, 154-30-00404
- 154-81-11191 Кромка режущая 154-81-11190
- 155-27-00151 Группа сегментов (7 шт + 2 шт) US216K225 155-27-00150 154-27-12271 154-27-12272
- 175-78-31230 Коронка рыхлителя
- 2j3506 Гайка
- 5j4773 Болт U12699 02090-11270 234-70-32250 234-70-32260 5J4771
- 81n8-11010 Каток опорный 81E5-2002
- 3325963 Ремень клиновой AV22x2150 NT855 3325963
- 150-70-21346 Бокорез правый
- 01010-62275 Болт
- 170-27-00021 Доукон 195-27-00022 170-27-00025 423-33-00020 207-27-00310 170-27-12513 170-27-00110 170-27-0
- 175-71-22272 Бокорез левый 175-71-11170
- 155-30-00118 Каток опорный, д/б (KM353
- 154-70-11314 Кромка режущая 154-70-11313
- 154-71-41270 Болт 154-70-11143 02090-11265 U12696
- 705-11-38010 Насос гидравлики OEM
- 9w2451 Коронка
- 120-5766 Каток опорный двубортный 7T4107
- 120-5746 Каток опорный однобортный 7T4102