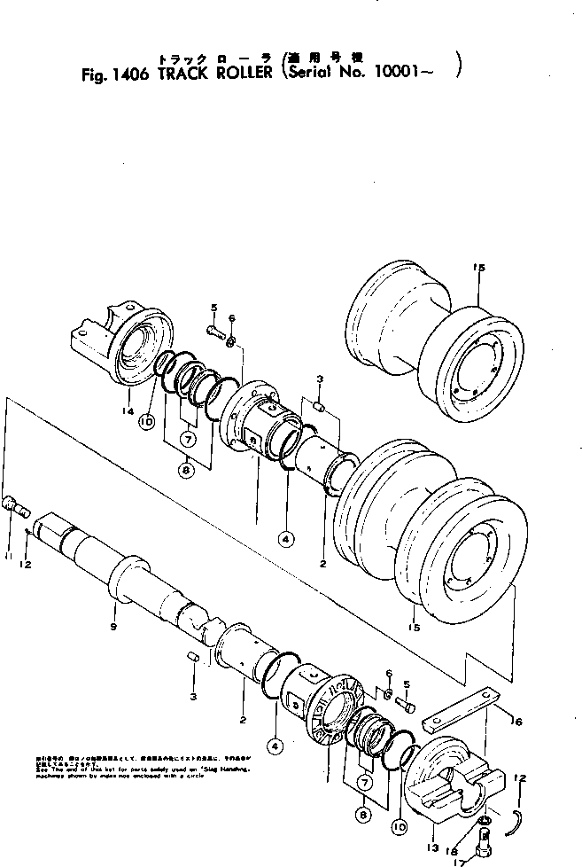
Запчасти Komatsu D80P-12 ОПОРНЫЙ КАТОК ГУСЕНИЦЫ И ЧАСТИ КОРПУСА

Схема запчастей Komatsu D80P-12 - ОПОРНЫЙ КАТОК ГУСЕНИЦЫ И ЧАСТИ КОРПУСА
FIT
1:1
100%

Артикул

Название

Примечание

Количество

|1

154-30-00404

TRACK ROLLER ASS'Y,DOUBLE FLANGE

SN: 1007-UP

6шт.

|1

0

TRACK ROLLER ASS'Y,DOUBLE FLANGE

SN: 1001-1006

6шт.

|1

154-30-00504

TRACK ROLLER ASS'Y,SINGLE FLANGE

SN: 1007-UP

8шт.

|1

0

TRACK ROLLER ASS'Y,SINGLE FLANGE

SN: 1001-1006

8шт.

|1

154-30-00810

BUSHING ASS'Y

SN: 1001-UP

2шт.

1

0

BUSHING

SN: 1001-UP

1шт.

2

0

BUSHING

SN: 1001-UP

1шт.

3

170-30-91130

PIN

SN: 1001-UP

2шт.

4

07000-02110

O-RING

SN: 1001-UP

2шт.

5

01010-31235

BOLT

SN: 1001-UP

12шт.

6

01602-01236

WASHER

SN: 1001-UP

12шт.

|7

154-30-00830

FLOATING SEAL ASS'Y

SN: 1007-UP

2шт.

|7

0

FLOATING SEAL ASS'Y

SN: 1001-1006

2шт.

7

154-30-00820

SEAL RING ASS'Y

SN: 1007-UP

1шт.

|7

0

SEAL RING ASS'Y

SN: 1001-1006

1шт.

|7

0

RING,SEAL

SN: 1007-UP

2шт.

|7

0

RING,SEAL

SN: 1001-1006

2шт.

8

150-30-00370

O-RING ASS'Y

SN: 1001-UP

1шт.

|8

0

O-RING

SN: 1001-UP

2шт.

9

154-30-11840

SHAFT

SN: 1001-UP

1шт.

10

07000-03058

O-RING

SN: 1001-UP

2шт.

11

07052-21624

PLUG

SN: 1001-UP

1шт.

12

150-30-15230

PIN,SNAP

SN: 1001-UP

2шт.

13

154-30-11850

COLLAR,INNER

SN: 1001-UP

1шт.

14

154-30-11860

COLLAR,OUTER

SN: 1001-UP

1шт.

15

154-30-25123

ROLLER,TRACK¤ DOUBLE FLANGE

SN: 1001-UP

1шт.

|15

154-30-25113

ROLLER,TRACK¤ SINGLE FLANGE

SN: 1001-UP

1шт.

16

150-30-15241

KEY

SN: 1001-UP

14шт.

17

01010-62070

BOLT

SN: 1001-UP

56шт.

18

01602-02060

WASHER

SN: 1001-UP

56шт.

Выбрано товаров: 30