Запчасти Komatsu D85A-21B КЛАПАН ТРАНСМИССИИ (/)(№-) ГТР CONVERTOR¤ ТРАНСМИССИЯ¤ РУЛЕВ. УПРАВЛЕНИЕ И КОНЕЧНАЯ ПЕРЕДАЧА

Схема запчастей Komatsu D85A-21B - КЛАПАН ТРАНСМИССИИ (/)(№-) ГТР CONVERTOR¤ ТРАНСМИССИЯ¤ РУЛЕВ. УПРАВЛЕНИЕ И КОНЕЧНАЯ ПЕРЕДАЧА
FIT
1:1
100%

Артикул

Название

Примечание

Количество

|$$1

SERIAL NO. IN ( ) INDICATES TRANSMISSION SERIAL NO.

-1шт.

|$4

154-15-01082

TRANSMISSION ASS'Y

SN: 35366-UP

1шт.

|$5

154-15-01081

TRANSMISSION ASS'Y

SN: 35127-35365

1шт.

|$6

154-15-01080

TRANSMISSION ASS'Y

SN: 35001-35126

1шт.

|$$5

THESE ASSEMBLIES CONSIST OF ALL PARTS SHOWN IN FIGS.F2320-51A1 TO F2320-58A1.

-1шт.

|$8

154-15-01133

VALVE ASS'Y

SN: (4637)-UP

1шт.

|$9

154-15-01132

VALVE ASS'Y

SN: 35366-(4636)

1шт.

|$10

154-15-01131

VALVE ASS'Y

SN: 35127-35365

1шт.

|$11

154-15-01130

VALVE ASS'Y

SN: 35001-35126

1шт.

|$$10

THESE ASSEMBLIES CONSIST OF ALL PARTS SHOWN IN FIGS.F2320-56A1 AND F2320-57A1.

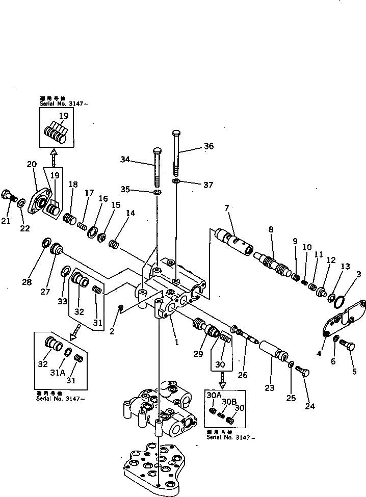
-1шт.

1

155-15-15410

BODY,VALVE

SN: 35001-UP

1шт.

2

07042-00108

PLUG

SN: 35001-UP

1шт.

3

07000-73040

O-RING (KIT)

SN: 35001-UP

1шт.

4

155-15-15850

COVER

SN: 35001-UP

1шт.

5

01010-81025

BOLT

SN: 35001-UP

4шт.

6

01602-21030

WASHER,SPRING

SN: 35001-UP

4шт.

7

145-14-43382

VALVE

SN: 35366-UP

1шт.

7

145-14-43381

VALVE

SN: 35001-35365

1шт.

8

145-14-43333

VALVE

SN: 35366-UP

1шт.

8

145-14-43332

VALVE

SN: 35127-35365

1шт.

8

145-14-43331

VALVE

SN: 35001-35126

1шт.

9

195-15-15130

VALVE

SN: 35127-UP

1шт.

9

175-15-15540

VALVE

SN: 35001-35126

1шт.

10

180-14-25560

SPRING

SN: 35001-UP

1шт.

11

175-15-15550

VALVE

SN: 35001-UP

1шт.

12

145-14-23180

STOPPER

SN: 35001-UP

1шт.

13

130-09-15170

RING,SNAP

SN: 35001-UP

1шт.

14

154-15-46130

SPRING

SN: 35366-UP

1шт.

14

154-15-46120

SPRING

SN: 35001-35365

1шт.

15

145-14-43340

SEAT

SN: 35001-(4636)

1шт.

16

145-14-33450

WASHER

SN: 35001-UP

1шт.

17

154-15-46140

SPRING

SN: 35366-UP

1шт.

17

154-15-36110

SPRING

SN: 35001-35365

1шт.

18

145-14-33351

SPRING

SN: 35001-UP

1шт.

19

281-15-15480

SHIM, 0.5MM

SN: 35366-UP

6шт.

19

145-14-43370

SHIM, 0.5MM

SN: 35001-35365

3шт.

20

144-15-25330

COVER

SN: 35001-UP

1шт.

21

01010-81025

BOLT

SN: 35001-UP

2шт.

22

01602-21030

WASHER,SPRING

SN: 35001-UP

2шт.

23

155-15-15351

SLEEVE

SN: 35001-UP

1шт.

24

155-15-15370

BOLT

SN: 35001-UP

1шт.

25

01602-20619

WASHER,SPRING

SN: 35001-UP

1шт.

26

437-15-15320

SPOOL

SN: 35366-UP

1шт.

26

0

VALVE

SN: 35001-35365

1шт.

27

155-15-15360

STOPPER

SN: 35001-UP

1шт.

28

04065-03515

RING,SNAP

SN: 35001-UP

1шт.

29

175-15-45381

VALVE

SN: 35366-UP

1шт.

29

0

VALVE

SN: 35001-35365

1шт.

30

568-15-15570

VALVE

SN: 35366-UP

1шт.

30

145-14-23720

PISTON

SN: 35001-35365

1шт.

30A

198-15-15760

VALVE

SN: 35366-UP

1шт.

30B

180-14-25560

SPRING

SN: 35366-UP

1шт.

31

154-15-45510

SPRING

SN: 35366-UP

1шт.

31

145-15-45510

SPRING

SN: 35001-35365

1шт.

31A

113-15-25260

SHIM, 0.5MM

SN: 35366-UP

2шт.

32

154-15-45390

RETAINER

SN: 35366-UP

1шт.

32

175-15-45390

RETAINER

SN: 35001-35365

1шт.

33

04065-03515

RING,SNAP

SN: 35001-UP

1шт.

34

01010-81080

BOLT

SN: 35001-UP

2шт.

35

01602-21030

WASHER,SPRING

SN: 35001-UP

2шт.

36

01011-81035

BOLT

SN: (3425)-UP

4шт.

36

0

BOLT

SN: 35001-(3424)

4шт.

37

01602-21030

WASHER,SPRING

SN: 35001-UP

4шт.

Выбрано товаров: 63