Запчасти Komatsu D85P-21 КЛАПАН ТРАНСМИССИИ (/)(№-) ГТР CONVERTOR¤ ТРАНСМИССИЯ¤ РУЛЕВ. УПРАВЛЕНИЕ И КОНЕЧНАЯ ПЕРЕДАЧА

Схема запчастей Komatsu D85P-21 - КЛАПАН ТРАНСМИССИИ (/)(№-) ГТР CONVERTOR¤ ТРАНСМИССИЯ¤ РУЛЕВ. УПРАВЛЕНИЕ И КОНЕЧНАЯ ПЕРЕДАЧА
FIT
1:1
100%

Артикул

Название

Примечание

Количество

|$0

154-15-01082

TRANSMISSION ASS'Y

SN: 3147-UP

1шт.

|$1

154-15-01081

TRANSMISSION ASS'Y

SN: 3075-3146

1шт.

|$2

154-15-01080

TRANSMISSION ASS'Y

SN: 3001-3074

1шт.

|$$4

THESE ASSEMBLIES CONSIST OF ALL PARTS SHOWN IN FIGS.2521 TO 2533.

-1шт.

|$4

154-15-01132

VALVE ASS'Y

SN: 3147-UP

1шт.

|$5

154-15-01131

VALVE ASS'Y

SN: 3075-3146

1шт.

|$6

154-15-01130

VALVE ASS'Y

SN: 3001-3074

1шт.

|$$8

THESE ASSEMBLIES CONSIST OF ALL PARTS SHOWN IN FIGS.2531 AND 2532.

-1шт.

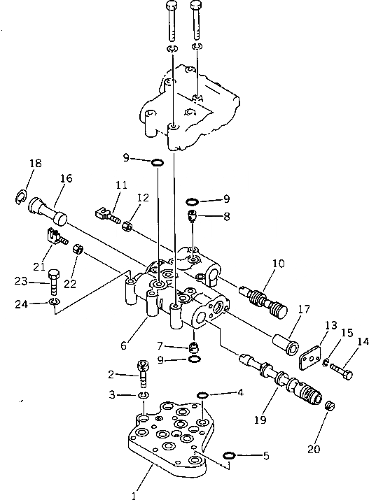
1

154-15-45130

SEAT,VALVE

SN: 3001-UP

1шт.

2

01252-41035

BOLT

SN: 3001-UP

4шт.

3

01602-21030

WASHER,SPRING

SN: 3001-UP

4шт.

4

07000-73022

O-RING (KIT)

SN: 3001-UP

5шт.

5

07000-73025

O-RING (KIT)

SN: 3001-UP

3шт.

6

154-15-45210

BODY

SN: 3001-UP

1шт.

7

175-15-45260

DETENT

SN: 3001-UP

1шт.

7

195-15-15680

SPRING

SN: 3001-UP

1шт.

7

04260-00952

BALL

SN: 3001-UP

1шт.

8

195-15-15671

DETENT

SN: 3001-UP

1шт.

8

195-15-15680

SPRING

SN: 3001-UP

1шт.

8

04260-00952

BALL

SN: 3001-UP

1шт.

9

07000-73022

O-RING (KIT)

SN: 3001-UP

5шт.

10

175-15-45220

SPOOL

SN: 3001-UP

1шт.

11

09363-01053

YOKE

SN: 3001-UP

1шт.

12

01580-11008

NUT

SN: 3001-UP

1шт.

13

175-15-45810

PLATE

SN: 3257-UP

1шт.

13

144-15-25810

PLATE

SN: 3001-3256

1шт.

14

01010-81025

BOLT

SN: 3001-UP

2шт.

15

01602-21030

WASHER,SPRING

SN: 3001-UP

2шт.

16

144-15-25420

SPACER

SN: 3001-UP

1шт.

17

145-15-45550

RETAINER

SN: 3001-UP

1шт.

18

04065-03515

RING

SN: 3001-UP

1шт.

|$31

15A-15-00512

SPOOL ASS'Y

SN: 3147-UP

1шт.

|$32

15A-15-00511

SPOOL ASS'Y

SN: 3001-3146

1шт.

19

0

SPOOL

SN: 3147-UP

1шт.

19

0

SPOOL

SN: 3001-3146

1шт.

20

144-15-25210

PLUG

SN: 3001-UP

1шт.

21

09363-01053

YOKE

SN: 3001-UP

1шт.

22

01580-11008

NUT

SN: 3001-UP

1шт.

23

01010-51075

BOLT

SN: 3001-UP

2шт.

24

01602-21030

WASHER,SPRING

SN: 3001-UP

2шт.

Выбрано товаров: 40