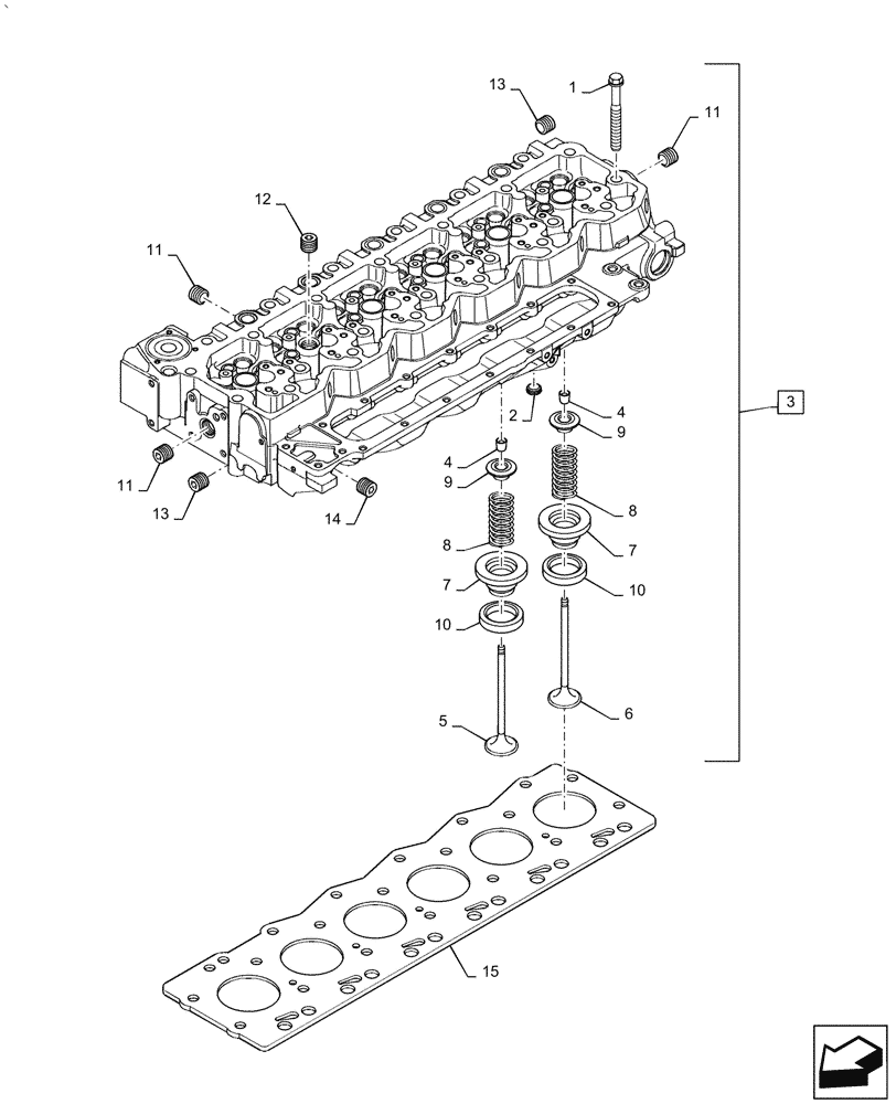
Запчасти Case IH PUMA1654 (10.101.AA[01]) - CYLINDER HEAD - 6 CYLINDER - PP38177 (10) - ENGINE

Схема запчастей Case IH PUMA1654 - (10.101.AA[01]) - CYLINDER HEAD - 6 CYLINDER - PP38177 (10) - ENGINE
11
7
14
7
11
3
11
1
12
9
8
10
13
10
15
9
4
4
6
5
8
2
13
FIT
1:1
100%

Артикул

Название

Примечание

Количество

1

4891024

BOLT,Flng, M12 x 1.75 x 130mm

12шт.

1

4891025

SCREW,Flng, M12 x 1.75 x 150mm

14шт.

2

4893036

PIPE PLUG,3/4"-14 NPTF

1шт.

3

2831274

CYLINDER HEAD,6 Cylinders

Assy

1шт.

3

2831279

CYLINDER HEAD,6 Cylinders

Assy

1шт.

3

2831278

CYLINDER HEAD,6 Cylinders

Assy

1шт.

4

4899081

ROCKER ARM COTTER

Collet - Valve

48шт.

5

4895051

STD EXHAUST VALVE

12шт.

5

47422604

SERVICE KIT

Exhaust Valve

12шт.

6

4895052

STD INLET VALVE

12шт.

6

47422606

SERVICE KIT

Intake Valve

12шт.

7

2831287

SEAL,12.6mm ID x 28.5mm OD x 0.6mm Thk

Valve Stem

24шт.

8

2831473

VALVE SPRING,Compression, 18.8mmOD x 45.2mm L

24шт.

9

4895074

CUP,18mm ID

Retainer - Valve Spring

24шт.

10

4893244

VALVE SEAT,28.42mm ID x 34.9mm OD x 5.75mm L

Insert

24шт.

10

4897578

VALVE SEAT,28mm ID x 34.9mm OD x 5.75mm L

Insert

12шт.

10

4897106

VALVE SEAT,28mm ID x 34.9mm OD x 5.75mm L

Insert

12шт.

11

4895085

EXPANSION PLUG,25.74mm

13шт.

12

4895089

PLUG,0.886" L

11шт.

13

4895406

EXPANSION PLUG,9.8mm OD

7шт.

14

4895407

EXPANSION PLUG,38.28mm OD

2шт.

15

2830705

CYLINDER HEAD GASKET,1.15mm Thk

1шт.

15

2830704

CYLINDER HEAD GASKET,1.25mm Thk

1шт.

Выбрано товаров: 23